おかげさまで開設25周年WWW.VSSIGROUP.COM 創業祭

WWW.VSSIGROUP.COM

詳しくはこちら
マイストア マイストア 変更
  • 即日配送
  • 広告
  • 取置可能
  • 店頭受取

HOT ! canbus 3点 Universal CAN Measuring Tool - CANBUSview XL III 119010001

※WWW.VSSIGROUP.COM 限定モデル
YouTuberの皆様に商品の使い心地などをご紹介いただいております!
紹介動画はこちら

ネット販売
価格(税込)

6150

  • コメリカード番号登録、コメリカードでお支払いで
    コメリポイント : 3ポイント獲得

コメリポイントについて

購入個数を減らす
購入個数を増やす

お店で受け取る お店で受け取る
(送料無料)

受け取り店舗:

お店を選ぶ

近くの店舗を確認する

納期目安:

13時までに注文→17時までにご用意

17時までに注文→翌朝までにご用意

受け取り方法・送料について

カートに入れる

配送する 配送する

納期目安:

2026.01.05 22:58頃のお届け予定です。

決済方法が、クレジット、代金引換の場合に限ります。その他の決済方法の場合はこちらをご確認ください。

※土・日・祝日の注文の場合や在庫状況によって、商品のお届けにお時間をいただく場合がございます。

即日出荷条件について

受け取り方法・送料について

カートに入れる

欲しいものリストに追加

欲しいものリストに追加されました

canbus 3点 Universal CAN Measuring Tool - CANBUSview XL III 119010001の詳細情報

Universal CAN Measuring Tool - CANBUSview XL III 119010001。I-7531 | ICP DAS USA Inc - Data Acquisition。ISO 11898-3:2006/Cor.1:2006(en), Road vehicles — Controller area。①【ハンドメイド】超BIG!!!北欧パッチワークマルチマット② 【ハンドメイド】刺し子たっぷりマルチマット 特大サイズ!!山吹色③ 【ハンドメイド】刺し子とパッチワークのコースター 北欧柄 お得6枚セット4300+3200+1200-500=8200母がすごーく時間をかけて大きなパッチワークマットを作りました。テーブルマット テーブルランナー 棚の上の敷物などいろんな箇所で使って頂けると思います。Automotive Communication Networks, Part II CAN Bus。めったにできない大作です!!^_^小さな生地を組み合わせた上に楽しく刺し子をした面と四角のカラフルなパッチワークをした面両方使えます(*´꒳`*)とってもカラフルで明るい気持ちになれる1枚です。。手編みブランケット★アフリカンフラワー★かぎ針編み★カラフル★ひざ掛け。【サイズ】約34✖️72cm※多少の誤差はご了承ください※発送の際は小さく折りたたんでになりますカバー ティーグッズ カフェ ランチョンマットプレゼント リバーシブルマット
  • Universal CAN Measuring Tool - CANBUSview XL III 119010001
  • I-7531 | ICP DAS USA Inc - Data Acquisition
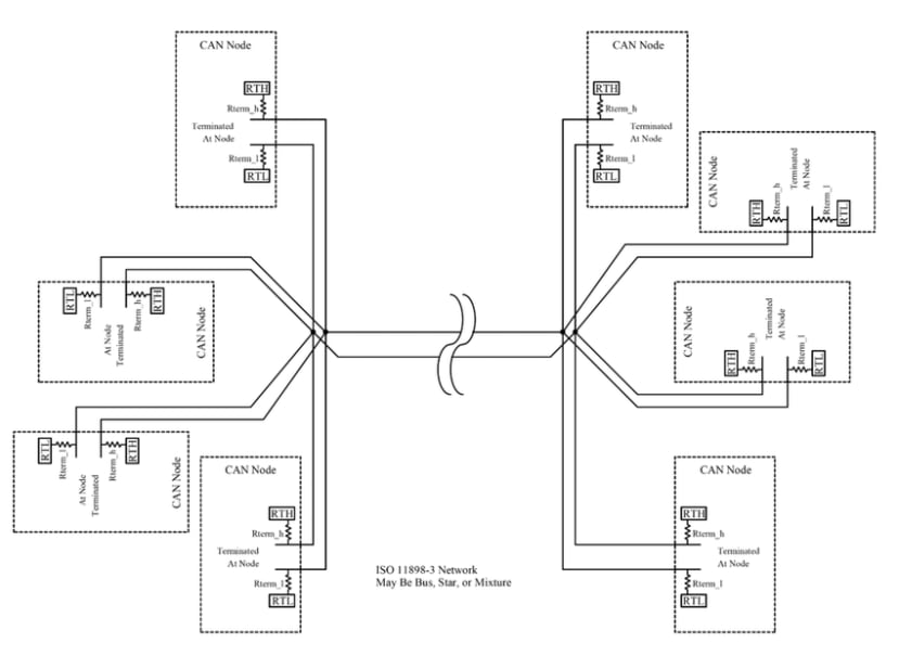
  • ISO 11898-3:2006/Cor.1:2006(en), Road vehicles — Controller area
  • Automotive Communication Networks, Part II CAN Bus

同じカテゴリの 商品を探す

ベストセラーランキングです

このカテゴリをもっと見る

この商品を見た人はこんな商品も見ています

近くの売り場の商品

このカテゴリをもっと見る

カスタマーレビュー

オススメ度  4.3点

現在、2843件のレビューが投稿されています。